SSU10OPNW
Can't find what you're looking for? Go to the Product Selector
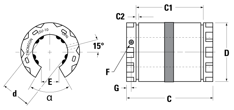
直线轴承, 仅滚珠衬套, 超智能, 0.625 英寸, 开口型, 自调心, 可调节, 一端集成刮尘片; 配合使用 0.625 英寸 直径 L级 连续支撑应用中的轴
- 这些通用自对准轴承提供的负载能力和运行寿命分别是我们Super Ball Bushing®轴承的2倍和8倍。
- 该专利产品提供平稳、安静、低阻力的直线运动,负载能力和运行寿命L10分别是传统钢制直线滚珠衬套轴承的6倍和216倍。
- 为了最小化安装时间和成本,Super Smart滚珠衬套轴承可订购为出厂安装在行业标准的单轴承座或双轴承座中。
- 轴承独特的钢带设计使其能够在长期使用过程中保持内径配合和自对准能力。
- For use with L class, continuously supported shafting.
- 用于L级导向轴
